



一、JTY-HM-GST102線型光束感煙火災探測器概述:
JTY-HM-GST102線型光束感煙火災探測器(以下簡稱探測器)為編碼型反射式線型紅外光束感煙探測器。探測器可直接與我公司生產的
火災報警控制器連接,通過總線完成二者間狀態信息的傳遞。探測器必須與反射器配套使用,但需要根據二者間安裝距離的不同決定使用一塊或四塊反射器。
探測器內置性能卓越的單片機,具備強大的分析判斷能力,通過在探測器內部固化的運算程序,可自動完成系統的調試、火警的判斷和故障的判斷。探測器全面兼容數字化總線技術,具有信息上傳速度快,信息內容豐富的優點。該探測器還具有根據外界環境參數變化補償的功能,降低了探測器對現場環境潔凈程度的要求,探測器的靈敏度可通過電子編碼器進行現場設置,拓寬了本產品的應用場所。探測器采用全新的、合理的結構設計,調節靈敏、定位準確、外形美觀,易于安裝,調試方法簡單、方便。該探測器可用于歷史性建筑、倉庫、大型存儲區、購物廣場、健身中心、體育館、展覽館、酒店大堂、印刷廠、制衣廠、博物館、監獄等場所,還可用于有輕微煙塵的空間。
二、JTY-HM-GST102線型光束火災探測器狀態顯示:
調試狀態:綠色和黃色指示燈以特定的方式點亮或閃亮,具體說明詳見“調試”部分。
正常監視狀態:紅色指示燈周期性閃爍。
火警:紅色指示燈常亮,黃色指示燈熄滅。火警信號需由控制器清除。探測器報火警時,由控制器點亮探測器火警指示燈。
故障:黃色指示燈常亮。如果故障恢復,探測器的故障信號由探測器自動消除。
光路被全部遮擋:探測器先報故障并點亮黃色指示燈,20s后探測器再報火警,并由控制器點亮紅色指示燈,熄滅黃色指示燈。注意:此種情況并不一定代表火災發生,當遮擋恢復后,故障信號由探測器自動清除,火警信號需由控制器清除。
三、JTY-HM-GST102線型光束探測器結構特征、安裝與布線
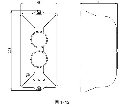
本探測器外形示意圖如圖1-12:

將探測器與反射器相對安裝在保護空間的兩端且在同一水平直線上,探測器外形安裝示意圖如圖1-13:

探測器采用明裝安裝,安裝方式有兩種:穿線管預埋和穿線管明裝。當穿線管預埋時,可將探測器底殼安裝在86H50型預埋盒的上方;當穿線管明裝時,采用支架安裝方式,底殼安裝孔距及支架安裝孔尺寸如圖1-14所示。

當探測器與反射器間的安裝距離大于等于8m(小于等于40m)時,需安裝1塊反射器;
當探測器與反射器間的安裝距離大于40m(小于等于100m)時,需安裝4塊反射器。單塊反射器安裝需用兩只6塑料脹釘將其固定,安裝尺寸如圖1-15所示,四塊反射器安裝時應擺放緊密,反射器之間不應留空隙,安裝示意圖如圖1-16所示(圖未按比例)。

探測器需要與直流24V電源線(無極性)及火災報警控制器信號總線(無極性)連接,直流24V電源線接探測器的接線端子D1、D2端子上,總線接探測器的接線端子Z1、Z2上,反射器不需接線。接線端子示意圖如圖1-17。

布線要求:信號總線Z1、Z2采用阻燃RVS型雙絞線,截面積≥1.0mm2;電源線D1、D2采用阻燃BV線,截面積≥1.5mm2。